欢迎您访问重庆精灵屋网络科技有限公司     注册 商城首页   个人中心   我的订单   我的收藏   购物车  
您还没有登录,登录后才能添加我收藏
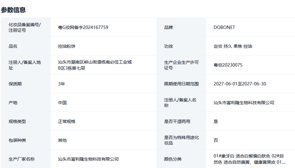
粉饼定妆持久控油遮瑕防水防汗防晒不脱妆蹭不掉气垫蜜散粉女正品
收藏

粉饼定妆持久控油遮瑕防水防汗防晒不脱妆蹭不掉气垫蜜散粉女正品

  • 品   牌:
  • 市 场 价:
    24.80
  • 商 城 价:
    ¥ 35.00 节省-11元
  • 销   量:
    100+
  • 配   送:
    包邮(全国城市1-2天达,偏远乡镇及农村3-5日达)
  • 评   价:

    99分
  • 规格:
    数量:
    - +
  • 积分:
    支付:微信货到付款银行汇款
  • 服务:

    保证正品

    货到付款

    保密配送

    免费退换

看了又看

粉饼定妆持久控油遮瑕防水防汗防晒不脱妆蹭不掉气垫蜜散粉女正品的描述